首页 资讯 财经 汽车 关注 科技 房产 图片 全国 视频

数码

旗下栏目: 业内 数据 数码 手机

佳能宣布新专利 单反相机也能搭载指纹识别

来源:新闻门户     作者:华夏门户     浏览:次     发布时间:2019-11-28
摘要:佳能宣布新专利 单反相机也能搭载指纹识别-指纹识别被遍及的应用在手机解锁规模,但你是否传闻过,相机也可以搭……

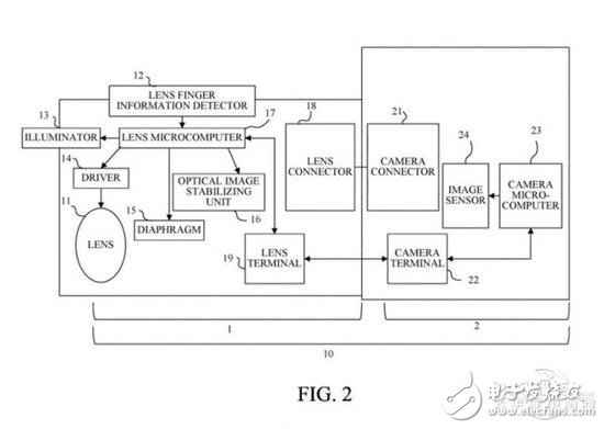
指纹识别被遍及的应用在手机解锁规模,但你是否传闻过,相机也可以搭载指纹解锁成果。克日佳能宣布逆天专利,单反将带指纹识此外镜头和机身,利用相机也要指纹解锁才气打开。

智妙手机普遍都有指纹识别成果,可是你有想过在单反上呈现这个成果吗?克日佳能有个新的专利,在镜头和机身上回收指纹识别成果,这意味着今后照相也要解锁才气开机。

佳能宣布新专利 单反相机也能搭载指纹识别

佳能宣布新专利 单反相机也能搭载指纹识别

佳能宣布新专利 单反相机也能搭载指纹识别

佳能 EOS 5D Mark IV(5D4)

从照片上可以看出,指纹识别传感器别离位于镜身靠快门按钮那一侧和右手握柄处,看起来有点鸡肋。可是这样的长处是,再也不怕别人借我相机来用了。这项新技能会不会在佳能5D Mark V上呈现呢,我以为有大概。

技能专区

苹果新一代iPad Pro下月宣布 全面屏设计+人脸识别

佳能宣布新专利 单反相机也能搭载指纹识别

Chrome成为欣赏器市场的霸主 微软Edge灰暗收场

苹果三款新的Mac模子曝光 或内置自研处理惩罚器

小米盒子能无线毗连吗?小米盒子能无线毗连要领

责任编辑:华夏门户
首页 | 资讯 | 关注 | 科技 | 财经 | 汽车 | 房产 | 图片 | 视频 | 全国

Copyright © www.msgkpx.com 北京新闻网 版权所有 粤icp备10021497号-9

电脑版 | 移动版