首页 资讯 财经 汽车 关注 科技 房产 图片 全国 视频

数码

旗下栏目: 业内 数据 数码 手机

延续高机能高颜值:尼康公司重组也要宣布新款无反相机

来源:新闻门户     作者:华夏门户     浏览:次     发布时间:2021-04-19
摘要:延续高机能高颜值:尼康公司重组也要宣布新款无反相机-在最近一次接管日本报纸Nikkan Kogyo Shimbun的采访中,尼康总……

  在最近一次接管日本报纸Nikkan Kogyo Shimbun的采访中,尼康总裁Kazuo Ushida(牛田一雄)先生再次体现尼康将会在将来推出一款独具特色的无反相机产物。Kazuo Ushida暗示,公司的重组并不会完全改变尼康产物需要与中高端单反相机竞争的排场,并且即即是销售量有所低落,公司仍然需要保持盈利本领。面临智妙手机照相用户的日益增多,尼康将会在将来推出具有高辨识度,且和其他公司产物有所差异的无反相机。与此同时,尼康也但愿可以或许操作本身的光学技能出产出兼具兴趣与机能的镜头类产物。

  

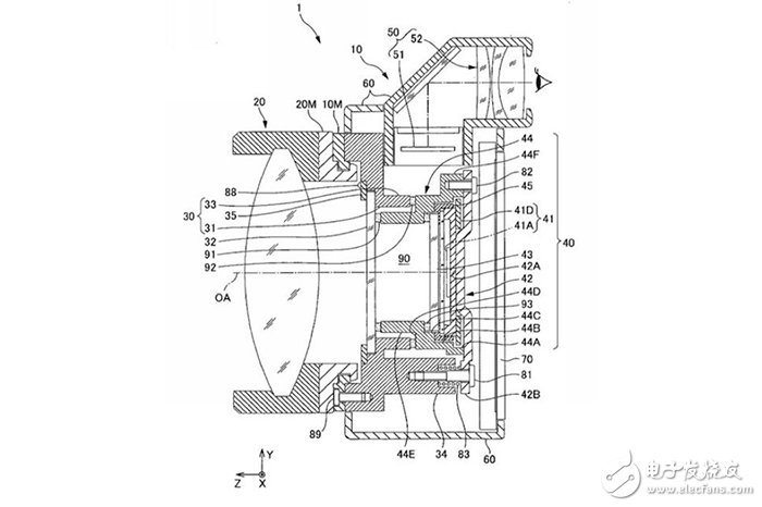
延续高机能高颜值:尼康公司重组也要宣布新款无反相机

  全新尼康1布局图

  

延续高机能高颜值:尼康公司重组也要宣布新款无反相机

  全新尼康1假想图

  牛田一雄在访谈中说,在产物方面,这款全新无回响与中高端单反单反相机抗衡,不解除举办布局改良的大概性。固然今朝全行业的整体销量都在下滑,但尼康将继承致力于中高端单反规模的争夺。面临智妙手机攻击,为吸引年青一代拿出与众差异的尼康范儿的无反相机来面临同行和手机的竞争,也是尼康正在尽力的偏向。

  ·编辑概念:

  尼康全新无反的据说不是一天两天了,可是此次是尼康总裁的访谈透露,所以可信度还长短常高的,不外今朝不确定是不是全画幅无反,可是按照尼康总裁的动静是一款与中高端单反相机抗衡的产物,那么可以猜测全画幅无反的大概性照旧较量大的。

技能专区

谷歌宣布3款摄像应用 AI与摄影不分居

苹果Apple Watch 11月创新高,2018年总体出货量有望到达2500万

Pixel C平板进级Android 8.1后,数据自动擦除

谷歌发明iOS 11,iOS 11越狱信息或将果真

Windows再现高危裂痕,裂痕并未被果真,微软紧张修复

责任编辑:华夏门户
首页 | 资讯 | 关注 | 科技 | 财经 | 汽车 | 房产 | 图片 | 视频 | 全国

Copyright © www.msgkpx.com 北京新闻网 版权所有 粤icp备10021497号-9

电脑版 | 移动版